Biuletyn nr 2: Podkładki i śruby korekcyjne

Dział: Geometria ustawienia kół i osi jezdnych pojazdów

 

Odbiorcy
:: Autoryzowane Stacje Obsługi
:: Urzędowe Stacje Kontroli Pojazdów
:: Serwisy Niezależne zajmujące się pomiarem i regulacja geometrii kół oraz osi jezdnych pojazdów
Spis treści:
1. Terminologia geometrii kół
2. Diagnoza kąta PSZ
3. Podkładki dystansowe EZ SHIM
4. Śruby korekcyjne EZ CAMM XR
5. Obliczanie podkładki – urządzenie
6. Cennik podzespołów

Szanowni Państwo

W związku z zainteresowaniem elementami korekcyjnymi geometrii kół pragnę zainteresować Państwa ofertą podkładek korekcyjnych produkcji Speciality Products Company do ustawienia tylnej zbieżności połówkowej i pochylenia koła w tych samochodach. Do ustawienia obu kątów wymagane jest użycie jednej podkładki.

W celu dokładnego zapoznania się z niniejszą ofertą prosimy o przeczytanie rozdziału: „Opis elementów korekcyjnych”.

Proponujemy również zestaw 2 śrub korekcyjnych do korekcji przedniego i tylnego kąta pochylenia koła do nierozwierconych goleni kolumny MacPherson.
Ustawienia przodu:
#81240
#81250
#81260
#81270
#81280
#81290

W celu uzyskania dodatkowych informacji na temat niniejszej oferty prosimy o kontakt telefoniczny z działem handlowym, tel. 071 34-666-26.

  1. Terminologia geometrii kół:

 

Kąt wyprzedzenia sworznia zwrotnicy (Kąt WSZ) Kąt WSZ
Definicja: Kąt WSZ jest to kąt zawarty między linią pionową i osią sworznia zwrotnicy (widok z boku). Kąt ten mierzony i wyświetlany jest w stopniach.

 

Kąt pochylenia koła (Kąt PK) Kąt PK
Definicja: Kąt PK jest to kąt zawarty między prostą pionową i linią wyznaczaną przez pochylenie górnej części koła (widok z przodu).Znaczenie:
Regulacja rozkłada ciężar pojazdu na całej powierzchni opony oraz eliminuje ściąganie boczne. Poprawna regulacja redukuje zużycie opon i ściąganie.Metody regulacji kąta PK:

    • (1) Podkładki
    • (2) Krzywki
    • (3) Otwory podłużne
    • (4) Obrócenie tulei przegubu kulowego
    • (5) Obrócenie kolumny
    • (6) Klin wsporczy kolumny
    • (7) Przesunięcia górnego łożyskowania kolumny
    • (8) Śruby korekcyjne
    • (9) Mimośrody
    • (10) Repozycja przegubu kulowego
    • (11) Repozycja ramy pośredniej

Kąt PK = 0°
Koła pojazdu ustawione są w pionie.

Kąt PK dodatni
Górna część koła pochylona jest na zewnątrz.
Zbyt duży dodatni kąt PK może być przyczyną:

    • (1) Zużycia zewnętrznej części opony
    • (2) Ściągania
    • (3) Nadmiernego zużycia elementów zawieszenia

Kąt PK ujemny
Górna część koła pochylona jest do wewnątrz.
Zbyt duży dodatni kąt PK może być przyczyną:

    • (1) Zużycia zewnętrznej części opony
    • (2) Ściągania
    • (3) Nadmiernego zużycia elementów zawieszenia

Niesymetryczny kąt PK (różnica L-P > 30′) może być przyczyną:

    (1) Ściągania pojazdu na stronę bardziej dodatniego kąta PK
Zbieżność sumaryczna Zbieżność
Definicja: Zbieżność sumaryczna jest to kąt zawarty między prostymi leżącymi w płaszczyznach kół tej samej osi.Znaczenie:
Minimalizacja zużycia opon i oporów toczenia.Metody regulacji zbieżności przedniej:

    • (1) Drążki poprzeczne

Metody regulacji zbieżności tylnej:

    • (1) Oryginalne regulatory
    • (2) Krzywki
    • (3) Śruby korekcyjne
    • (4) Mimośrody
    • (5) Otwory podłużne
    • (6) Podkładki

Zbieżność sumaryczna = 0°
Proste leżące w płaszczyznach kół tej samej osi są równoległe.

Zbieżność (+)
Proste leżące w płaszczyznach kół tej samej osi przecinają się przed kołami pojazdu.
Zbyt duży zbieżność kół może być przyczyną:

    • (1) Przyspieszonego zużywania się zewnętrznej części opony
    • (a) Na oponach radialnych nadmierna rozbieżność wpływa na zużycie podobnie jak nadmiernie ujemny kąt PK
    • (b) Wzór bieżnika opony jest poząbkowany
    • (c) Wyczuwalna ręką nierówna powierzchnia opony w kierunku poprzecznym
    • (2) Niestabilności kierowania
    • (a) „wędrowanie”
    • (b) nadsterowność

Rozbieżność kół (-)
Proste leżące w płaszczyznach kół tej samej osi przecinają się za kołami pojazdu.
Zbyt duża rozbieżność kół może być przyczyną:

    • (1) Przyspieszonego zużywania się wewnętrznej części opony
    • (a) Na oponach radialnych nadmierna rozbieżność wpływa na zużycie podobnie jak nadmiernie ujemny kąt PK
    • (b) Wzór bieżnika opony jest poząbkowany
    • (c) Wyczuwalna ręką nierówna powierzchnia opony w kierunku poprzecznym
    • (2) Niestabilności kierowania
    • (a) „wędrowanie”
    • (b) nadsterowność
Różnica kątów skrętu kół maksymalny kąt skrętu Kąty skrętu
Definicja: Różnica kątów skrętu jest to różnica między kątami skrętu przednich kół.Maksymalny kąt skrętu jest to kąt skrętu przy maksymalnym skręcie kół przednich.Znaczenie:
Minimalizacja zużycia opon, piszczenia opon przy skręcie, diagnozy skrzywionych elementów.Jeżeli różnica jest większa niż 1 °30′
i opony piszczą podczas skrętu to pojazd może mieć skrzywione ramię zwrotnicy. Większość kątów skrętu jest nieustawialna, można jedynie wymienić uszkodzony element.
Przesunięcie koła Przesunięcie koła
Definicja: Przesunięcie koła jest to kąt zawarty między osią geometrii i prostą prostopadłą do osi przedniej.Przesunięcie koła może być spowodowane:

(1) Kolizjami drogowymi
(2) Wadami fabrycznymi
Normalnie (2) przestawienie koła nie wpływa na ustawienie koła kierownicy po ustawieniu geometrii kół.
Kąt znoszenia Kąt znoszenia
Definicja: Kąt znoszenia jest to kąt zawarty między osią geometrii i torem jazdy wyznaczanym przez tylne koła pojazdu. Kąt ten mierzony i wyświetlany jest w stopniach.Znaczenie:

(1) Zużycie opon
(2) Błędne ustawienie koła kierownicy po regulacji
(3) Ściąganie pojazdu (4) „Psi ślad” – czterośladowość pojazdu
(5) Przestawione koło kierownicy
Metody regulacji kąta znosznia

(1) Oryginalne regulatory
(2) Zainstalowanie specjalnych podkładek na piaście tylnej osi
(3) Krzywki i inne elementy dostępne na rynku wtórnym
(4) Zestaw korekcyjny kąta znoszenia Speciality Products
(63020, 63030, 63040)
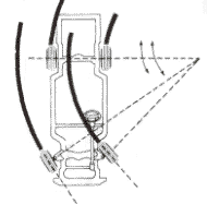
Kąt pochylenia sworznia zwrotnicy (kąt PSZ) Kąt PSZ, kąt PSZ+PK
Definicja: Kąt PSZ jest to kąt zawarty między linią pionową i prostą poprowadzoną przez oś sworznia zwrotnicy. Kąt ten mierzony i wyświetlany jest w stopniach. Kąt PSZ nie jest regulowany w większości pojazdów.Uwaga: Skrzywiony dolny wahacz poprzeczny również może zmienić PSZ.
Na kąt PSZ w zawieszeniach opartych o kolumnę MacPherson wpływa wiele czynników łącznie z bryłą nadwozia.Definicja: Suma kątów PK i PSZ, tzw. kąt zawarty jest to sumaryczna wartość kątów pochylenia koła i pochylenia sworznia zwrotnicy.

Znaczenie:
Zobacz w części: „Diagnoza kąta PSZ”


2. Diagnoza kąta PSZ
do góry

Zawieszenia na kolumnie MacPherson
Kąt PSZ Kąt PK Kąt
PSZ + PK
Prawdopodobna przyczyna
W tolerancji Mniejszy Mniejszy Skrzywiony czop zwrotnicy i/lub skrzywiona kolumna
W tolerancji Większy Większy Skrzywiony czop zwrotnicy i/lub skrzywiona kolumna
Mniejszy Większy W tolerancji Skrzywiony wahacz poprzeczny, góra kolumny przesunięta na zewnątrz lub przestawiona rama pośrednia
Większy Mniejszy Mniejszy Góra kolumny przesunięta do wewnątrz lub przestawiona rama pośrednia
Mniejszy Większy Większy Skrzywiony wahacz poprzeczny lub góra kolumny przesunięta na zewnątrz PLUS skrzywiony czop zwrotnicy i/lub skrzywiona kolumna
Mniejszy Większy Mniejszy Skrzywiony wahacz poprzeczny lub góra kolumny przesunięta na zewnątrz PLUS skrzywiony czop zwrotnicy i/lub skrzywiona kolumna
Mniejszy Mniejszy Mniejszy Skrzywiony wahacz, lub góra kolumny przesunięta na zewnątrz PLUS skrzywiony czop zwrotnicy i/lub skrzywiona kolumna
Zawieszenia wielowahaczowe
Kąt PSZ Kąt PK Kąt
PSZ + PK
Prawdopodobna przyczyna
W tolerancji Mniejszy Mniejszy Skrzywiona piasta
Mniejszy Większy W tolerancji Skrzywiony dolny wahacz poprzeczny lub skrzywiona rama pośrednia
Większy Mniejszy W tolerancji Skrzywiony górny wahacz poprzeczny lub skrzywiona rama pośrednia
Mniejszy Większy Większy Skrzywiony dolny wahacz poprzeczny lub skrzywiona piasta


3. Podkładki dystansowe EZ SHIM
do góry

Podkładki EZ SHIM #75200, #75400, #75800

Rewolucyjna metoda ustawiania zbieżności i pochylenia kół osi tylnej.

Oprogramowanie
Większość nowoczesnych urządzeń do kontroli geometrii kół pojazdów posiada zintegrowane oprogramowanie SHIM Select II obliczające podkładkę EZ SHIM. Speciality Products oferuje również oprogramowanie # 75940 na bazie Windows do dowolnego komputera dostępnego na serwisie

Małe zapasy magazynowe
Tylko trzy typy podkładek do regulacji większości marek pojazdów

Maksymalna liczba kombinacji ustwień – zbieżność / kąt PK
Nowatorski pomysł pozwala na dużą kombinację korekcji zbieżności i pochylenia koła przy zastosowaniu TYLKO jednej podkładki.

Pełny kontakt / Korekcja obu kątów
Pełny kontakt pomiędzy łączonymi elementami / korekcja obu kątów zbieżności i pochylenia kół w zakresie do 1°30′.

Szybko i dokładnie
Konstrukcja podkładki umożliwia korekcję zbieżności z rozdzielczością do 0°2′ oraz korekcję kąta pochylenia koła z rozdzielczością 0°6′

Oznaczenie kolorami
Trzy typy podkładek oznaczone są odpowiednio kolorem czerwonym, szarym i niebieskim.

 

Średni czas instalacji jednej podkładki = 30 minut na koło

Podkładka korekcyjna #75200 (niebieska) – do korekcji zbieżności i kąta PK koła tylnego w zakresie +/-1°30′

Zastosowanie: Audi: 80/90 do 86, Chrysler: Acclaim do 94, Daytona do 94, Le Baron do 95, lmperial/Sth Ave. Dynasty do 94, New Yorker do 93, Opel: Corsa od 93, Tigra, Renault: Laguna, Megane Scenic, Twingo, Seat: Arosa, lbiza/Cordoba od 93, Inca, Toledo od 91, Volkswagen: Corrado, Golf I/Il/Ill, Jetta, Passat do 97, Polo, Scirroco, Vento.

Podkładka korekcyjna #75400 (szara) – do korekcji zbieżności i kąta PK koła tylnego w zakresie +/-1°30′

Zastosowanie: Audi: 100 do 88, Buick: Skylark, Chevrolet: Beretta, Cavalier, Corsica, Chrysler: CaravanNoyager do 95, Ram Van do 95, Ford: Escort od 90, Fiesta od 90, Ka, Windstar, Oldsmobile: Achieva, Opel/Vauxhall: Astra-F, Vecta-A/Cavalier, Pontiac: Grand Am, Sunfire, Sunbird do 94, Renault: Espace 2WD, Rover: 200 od 95.

Podkładka korekcyjna #75800 (czerwona) – do korekcji zbieżności i kąta PK koła tylnego w zakresie +/-1°30′

Zastosowanie: Buick: Century, Riviera Cadillac: Eldorado/Seville do 92, Oldsmobile: Aurora, Ciera, Cutlass Cruiser, Silhouette, Tornado do 92, Opel: Sintra, Pontiac, Grand Prix od 95, Lumina, Trans Sport, Volkswagen: Passat od 97.

Podkładki dystansowe EZ SHIM zacisku hamulca tarczowego
#75970

Do wyśrodkowania zacisku hamulca tarczowego na tarczy hamulca. Zestaw składa się z 8 podkładek o 4 różnych grubościach po 2 sztuki.


#21125, #21135, #21145

#21125 – Volkswagen: Osłona do Golf III od 95, Polo III, Vento z ABS
#21135 – Volkswagen: Osłona do Golf III od 97 z ABS
#21145 – Volkswagen: Osłona do Golf III od 95, Polo III, Vento bez ABS


#75940, #75915, #75920

#75940 Oprogramowanie Windows
#75915 Obcinaczki do podkładek
#75920 Pisak do podkładek


#21060

Renault: Śruby zamienne do Twingo M8x30


#10408

Zestaw 8 dłuższych śrub mocujących piastę M10x40


4. Zestaw dwóch śrub korekcyjnych EZ CAM XR
do góry

Śruby #81240; #81250; #81260; #81270; #81280; #81290
Zestaw śrub EZ CAM XR zaprojektowano do ustawienia kąta PK na nierozwierconych kolumnach McPherson. Śruby te pozwalają na obu kątów PK w zakresie do +/-1°45′ (zależnie od pojazdu). Do naprawy należy zdemontować górną oryginalną śrubę mocując zwrotnicę do goleni kolumny. Ustawienie kąta PK polega na obróceniu łbem śruby do uzyskania pożądanego ustawienia kąta PK. Zestaw gwarantuje możliwość wielokrotnego ustawiana kąta PK obu kół. Zestaw składa się z dwóch śrub korekcyjnych i obejmuje ustawienie obu kół osi.


Przybliżony czas instalacji zestawu = 15min na 1 koło

Zestaw dwóch śrub korekcyjnych #81240
śruba korekcyjna fi 10 mm o korekcji kąta PK w zakresie +/-1°45′
Zastosowanie:
Alfa Romeo: 145, 146, 155; Fiat: Barchetta, Bravo/Brava, Marea, Panda, Punto, Tempra, Tipo, Uno; Lancia: Dedra, Delta, Y10.

Zestaw dwóch śrub korekcyjnych #81250
śruba korekcyjna fi 12 mm o korekcji kąta PK w zakresie +/-1°45′
Zastosowanie: Alfa Romeo: 6, GTV <95, Spinder <95, Chrysler: Neon, Daihatsu: Charade >93, Fiat: Cinquecento, Coupe, Croma, Ford USA: Aspire, Escort, Probe, Hyundai: Accent Lantra, Scoupe, Lancia: Kappa, Mazda: 323, 626, 929, Xedos 6/9, MVP, MX-3, MX-6, RX-7, Mitsubishi: Carisma, Colt, Lancer, Sigma, Space Runner, Nissan: 200 SX, Almera, Maxima, Micra, Prairie, Primiera, Sanza, Sunny, Opel/Vauxhall: Corsa <93, Omega/Carlton, Vectra-B, Peugeot 806, Porsche: 924, 944, Renault: R5, R9/11, R19, Clio, Twingo, Saab: 9000, Seat: Arosa, Ibiza/Cordoba, Inca, Toledo, Subaru: Justy, Suzuki: Baleno, Swift, Vitara, X90, Wagen R, Toyota: MR 2 >90, Tercel >88, Volkswagen: Jetta <84, Corrado, Golf II/II, Passat >97, Polo <94, Scirroco, Vento, Volvo: 480, Seria 800, S/V 40, V90.

Zestaw dwóch śrub korekcyjnych #81260 śruba korekcyjna fi 14 mm o korekcji kąta PK w zakresie +/-1°45′
Zastosowanie: Buick: Skylark <96, Chevrolet: Beretta <96, Cavalier <96, Corsica, Chrysler: Neon, Caravan/Voyager <96, Hyundai: Sonata, Mitsubishi: Galant <94, Nissan: QX, Renault: Mégane, Mégane Scenic, Subaru: lmpreza, Legacy, SVX-4WD.

Zestaw dwóch śrub korekcyjnych #81270 śruba korekcyjna fi 15 mm o korekcji kąta PK w zakresie +/-1°45′
Zastosowanie: Toyota: Carina, Celica, Corolla, MR 2 >90, Paseo, Previa, RAV4, Starlet.

Zestaw dwóch śrub korekcyjnych #81280 śruba korekcyjna fi 16 mm o korekcji kąta PK w zakresie +/-1°45′
Zastosowanie: Buick: Electra, LeSabre, Park Ave., Regal, Riviera, Cadillac: SeVille/DeVille >94, Chevrolet: Beretta <95, Camaro <92, Cabrio/Limo, Chrysler: New Yorker >94, Stratus, Vision, Ford: Mustang, Oldsmobile: Aurora, Achieva <95, Pontiac: Bonneville, Grand Am <95, Renault: Laguna, Safrane

Zestaw dwóch śrub korekcyjnych #81290 śruba korekcyjna fi 17 mm o korekcji kąta PK w zakresie ą1°45′
Zastosowanie: Toyota Camry

Śruby #83450; #83460; #83470; #83480; #83490
Zestaw śrub EZ CAM XR zaprojektowano do ustawienia kąta PK na nierozwierconych kolumnach McPherson. Śruby te pozwalają na obu kątów PK w zakresie do +/-1° (zależnie od pojazdu). Do naprawy należy zdemontować górną oryginalną śrubę mocując zwrotnicę do goleni kolumny. Ustawienie kąta PK polega na obróceniu łbem śruby do uzyskania pożądanego ustawienia kąta PK. Zestaw gwarantuje możliwość wielokrotnego ustawiana kąta PK obu kół. Zestaw składa się z dwóch śrub korekcyjnych i obejmuje ustawienie obu kół osi.


Przybliżony czas instalacji zestawu = 15min na 1 koło

Zestaw dwóch śrub korekcyjnych #83450
śruba korekcyjna fi 12 mm o korekcji kąta PK w zakresie +/-1°
Zastosowanie: Alfa Romeo: 6, GTV <95, Spinder <95, Chrysler: Neon, Daihatsu: Charade >93, Fiat: Cinquecento, Coupe, Croma, Ford USA: Aspire, Escort, Probe, Hyundai: Accent Lantra, Scoupe, Lancia: Kappa, Mazda: 323, 626, 929, Xedos 6/9, MVP, MX-3, MX-6, RX-7, Mitsubishi: Carisma, Colt, Lancer, Sigma, Space Runner, Nissan: 200 SX, Almera, Maxima, Micra, Prairie, Primiera, Sanza, Sunny, Opel/Vauxhall: Corsa <93, Omega/Carlton, Vectra-B, Peugeot 806, Porsche: 924, 944, Renault: R5, R9/11, R19, Clio, Twingo, Saab: 9000, Seat: Arosa, Ibiza/Cordoba, Inca, Toledo, Subaru: Justy, Suzuki: Baleno, Swift, Vitara, X90, Wagen R, Toyota: MR 2 >90, Tercel >88, Volkswagen: Jetta <84, Corrado, Golf II/II, Passat >97, Polo <94, Scirroco, Vento, Volvo: 480, Seria 800, S/V 40, V90.

Zestaw dwóch śrub korekcyjnych #83460
śruba korekcyjna fi 14 mm o korekcji kąta PK w zakresie +/-1°
Zastosowanie:
Buick: Skylark <96, Chevrolet: Beretta <96, Cavalier <96, Corsica, Chrysler: Neon, Caravan/Voyager <96, Hyundai: Sonata, Mitsubishi: Galant <94, Nissan: QX, Renault: Mégane, Mégane Scenic, Subaru: lmpreza, Legacy, SVX-4WD.

Zestaw dwóch śrub korekcyjnych #83470 śruba korekcyjna fi 15 mm o korekcji kąta PK w zakresie +/-1°
Zastosowanie: Toyota: Carina, Celica, Corolla, MR 2 >90, Paseo, Previa, RAV4, Starlet.

Zestaw dwóch śrub korekcyjnych #83480 śruba korekcyjna fi 16 mm o korekcji kąta PK w zakresie +/-1°
Zastosowanie: Buick: Electra, LeSabre, Park Ave., Regal, Riviera, Cadillac: SeVille/DeVille >94, Chevrolet: Beretta <95, Camaro <92, Cabrio/Limo, Chrysler: New Yorker >94, Stratus, Vision, Ford: Mustang, Oldsmobile: Achieva <95, Aurora, Pontiac: Bonneville, Grand Am <95, Renault: Laguna, Safrane

Zestaw dwóch śrub korekcyjnych #83490 śruba korekcyjna fi 17 mm o korekcji kąta PK w zakresie +/- 1°
Zastosowanie: Toyota Camry


5. Użycie urządzenia do geometrii HUNTER serii 211, 311, 411 oraz SKP do obliczania podkładki korekcyjnej
do góry

Na ekranie pomiarowym „Pomiary i ustawienia pojazdu” naciśnij etykietę „Zrób dodatkowe ustawienia”. Etykieta ta znajduje się w 3 rzędzie menu sterującego (klawiszy u dołu ekranu).


Pojawi się ekran „Dodatkowe procedury ustawiania” . Wybierz oś tylną, a następnie opcję „Ustaw kąt PK i zbież. (podkł. z pełnym stykiem)”.
Naciśnij „OK.”


Pojawi się ekran obliczający lewą tylną podkładkę. Jeżeli chcesz, wydrukuj szablon danej podkładki (jest to bardzo pomocne).


Naciśnij „Pokaż prawą podkładkę”, aby obliczyć prawą podkładkę.


Po wykonaniu pomiarów i wydrukowaniu szablonów podkładek możesz przystąpić do montażu podkładek.


6. Cennik podzespołów
do góry

PN Ilość w opakowaniu Cena netto w USD
10408 8 13,78
75200 1 11,40
75400 1 11,40
75800 1 11,40
75915 1 25,22
75920 1 2,64
75940 1 7,98
81240 2 31,94
81250 2 31,94
81260 2 31,94
81270 2 35,34
81280 2 35,34
81290 2 35,34
83450 2 31,94
83460 2 31,94
83470 2 35,33
83480 2 35,33
83490 2 35,33

Do cen należy doliczyć 22% VAT.
Kwoty przeliczane są z USD na PLN po kursie sprzedaży Banku Handlowego w dniu wystawienia faktury.

Powiązane wpisy